
MIL-C-60898/11
(MU)
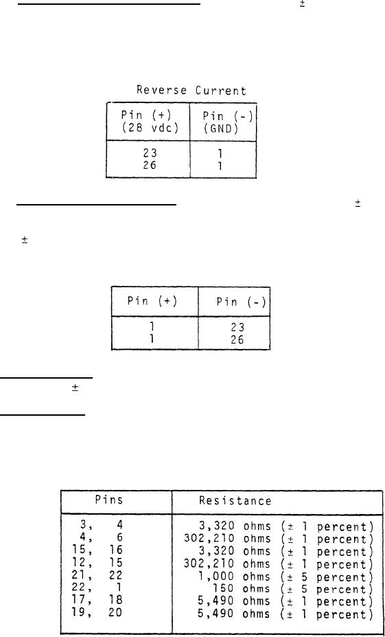
3.4.1.4 Diodes,
reverse
current.
With +28.0
1.0 vdc applied
between each of the two
pins specified in Table I, there shall
be +0.02 milliamperes or
less current between the two pins.
Table
I
3.4.1.5 Diodes, forward drop.
With a current
of 1.0
0.1
amperes applied between each of the two pins,
specified in
Table II, the voltage between these pins shall
not be greater
0.3 vdc.
than 0.9
Table
II
3.4.2 C a p a c i t a n c e .
The capacitance
between
pin
27
and
pin
1
10 percent.
shall be 0.1 uf
3.4.3 R e s i s t a n c e .
The
resistance
between
pins
shall
be
as
s p e c i f i e d in Table
III.
Table III
T e r m i n a l Resistance
4
For Parts Inquires call Parts Hangar, Inc (727) 493-0744
© Copyright 2015 Integrated Publishing, Inc.
A Service Disabled Veteran Owned Small Business